龙虎榜丨宗申动力今日涨停 知名游资方新侠净买入4367.55万元
热点
2024年08月01日 22:57 61
admin
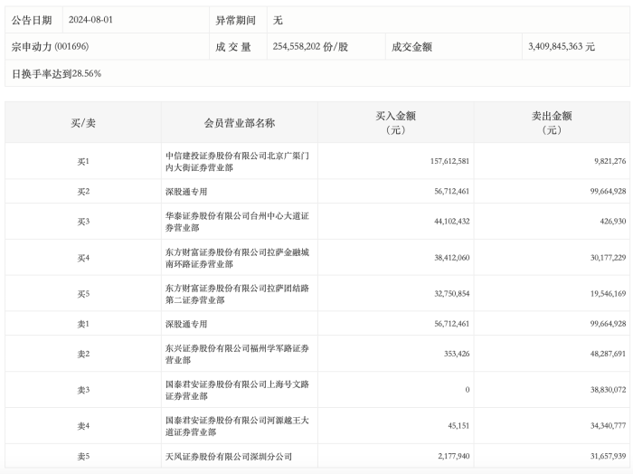
8月1日,宗申动力今日涨停,龙虎榜数据显示,上榜营业部席位全天成交6.45亿元,占当日总成交金额比例为18.91%。其中,买入金额为3.32亿元,卖出金额为3.13亿元,合计净买入1941.39万元。
具体来看,知名游资现身龙虎榜,方新侠净买入4367.55万元。此外,中信建投证券北京广渠门内大街证券营业部、深股通专用分别买入1.58亿元、5671.25万元;深股通专用、东兴证券福州学军路证券营业部分别卖出9966.49万元、4828.77万元。

标签: 宗申
相关文章
-
宗申动力三季度增收不增利 多只基金进入前十大流通股东详细阅读
每经记者 王琳 每经编辑 董兴生 10月30日晚间,宗申动力(SZ001696,股价33.67元,市值385.53亿元)发布20...
2024-11-06 57 宗申
